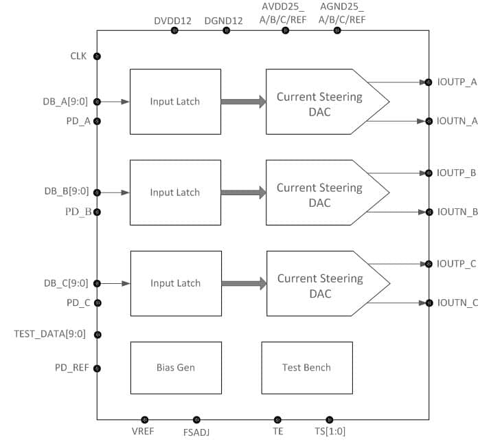
This Video DAC specifies a 3-channel 10-bit resolution, high performance, low power CMOS Digital-to-Analog Converter (DAC) which offers exceptional direct current and alternating current performance and supports update rate up to 240MSPS with a stand-by mode to reduce the power dissipation.
The segmented current steering architecture is combined with a proprietary switching technique to reduce spurious components and enhance dynamic performance. Edge-triggered input latch and temperature compensated bandgap reference have been integrated to provide a complete monolithic DAC solution.
|
|
|
|
|














