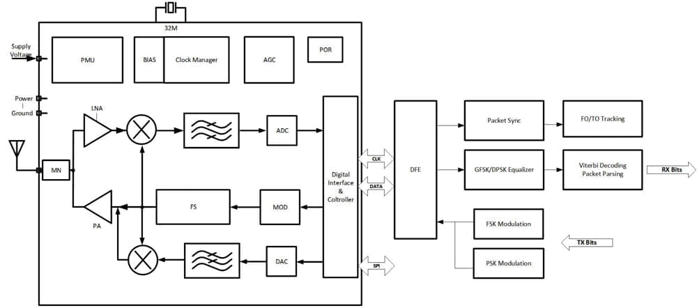
Dual-mode Bluetooth RF IP is a 2.4 GHz ISM band RF transceiver IP designed for Bluetooth dual-mode applications. It is compliant with the Bluetooth specification (Bluetooth 5.3), and supports BR, EDR, and BLE. This IP is implemented using the FD-SOI 22nm process, rendering good performance and low power dissipation. It exposes a simple parallel digital interface to baseband modem for easy integration. A slave Serial Peripheral Interface (SPI) is used for connection to the baseband or external MCU.

|
|













